一種三維扭曲異形旋轉樓梯節點石材拼接結構,它包括立板石材、石材連接條、底板石材,所述立板石材與石材連接條粘合連接,立板石材靠近石材連接條的棱邊開有槽一,槽一的截面為方形,石材連接條靠近立板石材的棱邊開有槽二,槽二的截面為L形,立板石材與石材連接條連接處的外表面具有由槽一和槽二組合構成的工藝槽,工藝槽的截面呈“凸”字形;石材連接條靠近底板石材的一側設置有凸出條,底板石材搭接在石材連接條的凸出條上。
所述石材連接條與底板石材的接觸部位通過膠粘固定。
本方法的優點是:克服了斜邊崩邊現象,拼接方式簡潔明快,石材紋理順暢自然,提高了整體質量,提升了品質。
下面結合附圖和實施例對作進一步的描述
圖1是本實施例的實施情況下的結構示意圖;
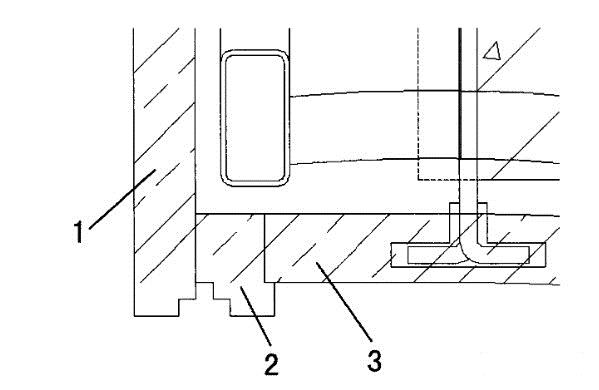
圖2是本實施例的主要部位的剖面示意圖;
其中:1立板石材;2石材連接條;3底板石材。

圖1

圖2
具體實施方式
實施例:如圖1到圖2所示,一種三維扭曲異形旋轉樓梯節點石材拼接結構,它包括立板石材1、石材連接條2、底板石材3,立板石材1與石材連接條2粘合連接,立板石材1靠近石材連接條2的棱邊開有槽一,槽一的截面為方形,石材連接條2靠近立板石材1的棱邊開有槽二,槽二的截面為L形,立板石材1與石材連接條2連接處的外表面具有由槽一和槽二組合構成的工藝槽,工藝槽的截面呈“凸”字形;石材連接條2靠近底板石材3的一側設置有凸出條,底板石材3搭接在石材連接條2的凸出條上,石材連接條2與底板石材3的接觸部位通過膠粘固定。
本實施例的實施包括以下要點:
1、立板石材1,在石材邊緣留L槽,避免陽角石材碰邊,減少崩邊幾率。
2、石材連接條2,將現有技術中的陽角收口轉為陰角收口,避免陽角直碰收口方式,使石材相互作用點位于工藝槽內,減少石材崩邊概率。
3、石材連接條2與底板石材3隱蔽接口位置,通過工藝邊處理石材相接,使兩塊石材不存在直接拼縫,而造成石材崩邊。
內容來源網絡,如有問題請聯系處理
專利權人:蘇州金螳螂建筑裝飾股份有限公司
發明人:陳彥東 粱虓 冀瑞廣 胡本國 蘇宏清 石琳惠 韓玲玲 陳駿 禹用海 季林 王郭彬 王姍 劉成勇 孫瑋 趙彤
所述石材連接條與底板石材的接觸部位通過膠粘固定。
本方法的優點是:克服了斜邊崩邊現象,拼接方式簡潔明快,石材紋理順暢自然,提高了整體質量,提升了品質。
下面結合附圖和實施例對作進一步的描述
圖1是本實施例的實施情況下的結構示意圖;
圖2是本實施例的主要部位的剖面示意圖;
其中:1立板石材;2石材連接條;3底板石材。

圖1

圖2
具體實施方式
實施例:如圖1到圖2所示,一種三維扭曲異形旋轉樓梯節點石材拼接結構,它包括立板石材1、石材連接條2、底板石材3,立板石材1與石材連接條2粘合連接,立板石材1靠近石材連接條2的棱邊開有槽一,槽一的截面為方形,石材連接條2靠近立板石材1的棱邊開有槽二,槽二的截面為L形,立板石材1與石材連接條2連接處的外表面具有由槽一和槽二組合構成的工藝槽,工藝槽的截面呈“凸”字形;石材連接條2靠近底板石材3的一側設置有凸出條,底板石材3搭接在石材連接條2的凸出條上,石材連接條2與底板石材3的接觸部位通過膠粘固定。
本實施例的實施包括以下要點:
1、立板石材1,在石材邊緣留L槽,避免陽角石材碰邊,減少崩邊幾率。
2、石材連接條2,將現有技術中的陽角收口轉為陰角收口,避免陽角直碰收口方式,使石材相互作用點位于工藝槽內,減少石材崩邊概率。
3、石材連接條2與底板石材3隱蔽接口位置,通過工藝邊處理石材相接,使兩塊石材不存在直接拼縫,而造成石材崩邊。
內容來源網絡,如有問題請聯系處理
專利權人:蘇州金螳螂建筑裝飾股份有限公司
發明人:陳彥東 粱虓 冀瑞廣 胡本國 蘇宏清 石琳惠 韓玲玲 陳駿 禹用海 季林 王郭彬 王姍 劉成勇 孫瑋 趙彤
客服熱線:











